Ключевые даты
- : Начало цветного вещания SECAM в октябре по 2- й французской национальной сети .
- 1972 год .31 декабря 1972 г., старт трансляций третьего телеканала (ОРТФ 3) прямо в цвете.
- : Открытие цветной сети УВЧ в SECAM в конце 1975 года для первого канала (который стал TF1 в январе 1975 года ). Однако только в 1980 году SECAM действовала по всей стране. Сеть из черно-белых передатчиков и передатчиков «высокой четкости» на 819 линий не могла быть адаптирована к цвету из-за производственных затрат и занятости модулированного сигнала. Таким образом, параллельно с трансляцией SECAM в UHF, TF1 продолжал транслировать свою черно-белую программу из 819 строк в сети VHF до июля 1983 года , всего за несколько месяцев до объявления о прибытии Canal + (которое мимоходом повторило его VHF частоты становятся бесполезными для TF1).
- : TF1 теперь покрывает всю Францию в цвете.
- : Его NICAM . SECAM был последним телевизионным стандартом, который ассоциировался со стереофоническим звуком. В то время как NTSC и особенно PAL смогли интегрировать стерео уже в 1960-х годах (затем эффекты объемного звучания с середины 1980-х), SECAM пришлось ждать введения цифрового аудио процесса NICAM с 1994 года (расширение звука для всех французских издателей имело место. до 1999 г.). Это происходит не из-за самого кодирования SECAM, а из-за французского стандарта модуляции L / L ‘, последнего в мире стандарта, использующего амплитудную модуляцию для передачи звука с положительной модуляцией изображения.
- : Все французские передатчики совместимы с NICAM .
- : Прекращение вещания SECAM в наземном герцевом приеме. SECAM был окончательно заброшен на29 ноября 2011 г., в наземном герцевом приеме (регион Лангедок-Руссильон был последним французским регионом, который перешел на полностью цифровой формат. На спутнике Atlantic Bird 3 в тот же день было остановлено вещание SECAM для France 5, Arte и M6, затем TF1 прекратил вещание в этот стандарт на этом спутнике на 13 декабря 2011 г., а затем Canal +.
- : Остановитесь1 — й январе +2012, Трансляции SECAM на Atlantic Bird 3 (TF1 и France 2 были заменены рекламными видеороликами для FRANSAT в PAL до тех пор, пока февраль ). Вероятно, он проживет еще несколько лет в домашних условиях благодаря аналоговым видеомагнитофонам VHS (низкое качество цветопередачи, потому что полоса яркости в VHS SECAM чрезвычайно ограничена). Фактически, цифровые системы (SD, ED и HD) станут стандартами, используемыми большинством стран мира.
- 2015: Стандарт L / L и цвет SECAM навсегда исчезают из французских кабельных сетей из-за полного отключения аналоговой связи в этих сетях, это был последний оплот стандартов L / L и SECAM во Франции.
Основные характеристики формата NTSC #
Частота строчной развертки для NTSC M равняется 525 строкам на экран, частота смены кадров – 30. Полоса частот, занимаемая видеосигналом – 4,2 МГц. В NTSC N используется несколько больше строк – 625 и пониженная кадровая частота – 25 Гц.
Система на основе NTSC позволяет обеспечить высокое качество цветного изображения, но предъявляет весьма жесткие требования к приемной и передающей аппаратуре. Из-за особенностей формирования сигналов этого формата, при декодировании не всегда удаётся полностью разделить сигнал на отдельные составляющие, поэтому цветовые сигналы смешиваются с яркостным. И, в зависимости от яркости участка изображения, оно может несколько менять свой цветовой тон.
Фазовые искажения сигнала, возникающие иногда при передаче, также способствуют не совсем естественной передаче цветового тона, а амплитудно-частотные вызывают изменение насыщенности цвета.
PAL
Стандарт PAL (англ. Phase Alternation Line) впервые был использован в 1967 году в Германии и Великобритании. Вещание в этих странах началась несколько различающихся вариантах, которых в настоящее время стало еще больше. PAL широко используется в большинстве стран Западной Европы, Африки, Азии, в Австралии и Новой Зеландии.
По сути, PAL является усовершенствованной системой NTSC, в которой устранена чувствительность передаваемого сигнала к фазовым искажениям за счет изменения метода модуляции несущей частоты цвета. Правда, это привело к некоторому ухудшению четкости, что отчасти компенсируется (в некоторых вариантах стандарта) повышенным количеством строк.
Cтандарт PAL имеет наибольшее количество используемых разновидностей.
SECAM
Стандарт SECAM (франц. Sequential Couleur Avec Memoire) – последовательная передача цветов с запоминанием был разработан во Франции. Регулярное вещание с его использованием началось в 1967 году, во Франции и СССР. В SECAM используется 625 строк с частотой 25 кадров, или 50 полей в секунду. Сейчас SECAM используется во Франции и некоторых странах Европы, в некоторых странах бывшего CCCP и Африки.
Особенность системы в том, что цветоразностные сигналы передаются посредством частотной модуляции. Тогда, как в PAL и NTSC используется квадратурная амплитудная модуляция. Частотная модуляции, а также поочередная (через строку) передача двух цветовых сигналов позволила избавиться от излишней чувствительности к искажениям, но несколько ухудшила четкость, что, впрочем, в условиях приема эфирного телевидения не всегда принципиально и наиболее заметно в кабельных системах. SECAM позволяет добиться более естественной цветопередачи за счет улучшенного разделения цветовых сигналов от яркостного.
Для записи на магнитную ленту использовалась разновидность стандарта – MESECAM, в котором поднесущие цветоразностных сигналов перенесены на более низкие частоты (примерно 1,1 МГц), что позволило минимизировать влияние непостоянства скорости протяжки ленты на качество цвета.
Сравнение форматов
Перечень основных различий между стандартами сведен в таблицу. Как видно, имеются значительные различия по несущим частотам и занимаемой в каналах связи общей полосе частот.
| Стандарт | NTSC M | PAL B,G,H | PAL I | PAL N | PAL M | SECAM B,G,H | SECAM D,K,L |
| Число строк/кадров | 525/30 | 625/25 | 625/25 | 625/25 | 525/30 | 625/25 | 625/25 |
| Полоса частот видеосигнала, МГц | 4,2 | 5 | 5,5 | 4,2 | 4,2 | 5 | 6 |
| Цветовая несущая, МГц | 3,58 | 4,43 | 4,43 | 3,58 | 3,58 | 4,25 и 4,406 | 4,25 и 4,406 |
| Звуковая несущая, МГц | 4,5 | 5,5 | 6 | 4,5 | 4,5 | 5,5 | 6,5 |
Впрочем, сегодня вряд ли читателям придётся серьёзно страдать из-за проблем, несовместимости форматов. Каким бы способом Вы не выводили бы видео с компьютера, почти всегда будет возможность выбора, как минимум, из двух форматов PAL или NTSC.
Немецкий PAL
В начале шестидесятых в Германии фирма Telefunken ведет разработку собственного стандарта цветового кодирования — он получает название PAL (Phase Alternating Line). Тоже 625 строк и 50 герц, как у создающегося в это же время SECAM; в чем-то похож на NTSC, но несколько сложнее, зато и несколько качественнее.
Вещание в этом стандарте начинается в Великобритании в июне 1967 года, чуть позже в том же году — в Западной Германии. Стандарт PAL захватывает те страны, куда не дотянулись NTSC и SECAM. В девяностых около полутора десятков стран отказываются от стандарта SECAM и переходят на PAL. Две трети всех телезрителей мира смотрят передачи в «Пале». Чуть позже рождается шутка: как низко пал «Секам»!
Очередная ирония судьбы: со временем французская компания Thomson покупает немецкую фирму Telefunken (разработчика стандарта PAL), французскую Compagnie Générale de Télévision (разработчика SECAM) и права на выпуск аппаратуры под маркой RCA (разработчика NTSC). Германия откажется от PAL в 2009-м, а Франция от SECAM — в 2011-м (и там, и тут перейдут на цифровой стандарт DVB-T), а США в 2015-м окончательно мигрирует с NTSC на цифровой ATSC.
Описание
Спектр телевизионного сигнала SECAM. Серое поле соответствует сигналу яркости, а жёлтое — сигналу цветности. Вертикальные линии обозначают составляющие поднесущей, соответствующие красному (4,406 МГц) и синему (4,25 МГц) цветоразностным сигналам при отсутствии модуляции
Так же как в других системах цветного телевидения — NTSC и PAL, — для совместимости с чёрно-белым телевизионными приёмниками вместо непосредственной передачи трёх сигналов основных цветов осуществляется передача сигнала яркости Y, соответствующего чёрно-белому изображению, и двух цветоразностных сигналов R-Y и B-Y, несущих информацию о красном и синем цветах соответственно. Недостающая информация о зелёном цвете G восстанавливается в приёмном устройстве вычитанием суммы цветоразностных сигналов из яркостного в соответствии с соотношением:
Y=0,299R+0,587G+0,114B{\displaystyle Y=0{,}299R+0{,}587G+0{,}114B}.
В случае просмотра программы на чёрно-белом телевизоре используется только сигнал яркости, ничем не отличающийся от видеосигнала чёрно-белого телевидения. Сигнал цветности, который содержит информацию о цветоразностных сигналах, чёрно-белым телевизором не принимается. Он передается на вспомогательной несущей частоте — поднесущей, которая принимается блоком цветности цветных телевизоров, содержащим декодер, преобразующий сигналы поднесущей и яркости в сигналы трёх цветов. Сигнал цветности передается при помощи частотной модуляции поднесущей с целью повышения устойчивости к амплитудным и фазовым искажениям, к которым особенно чувствительна система NTSC, разработанная ранее. Для уменьшения видимости поднесущей на экране её амплитуда не превышает 25% от размаха сигнала яркости, а сигналы цветности подвергаются в передающем устройстве предыскажениям для повышения помехозащищённости.
Главной особенностью системы SECAM, отражённой в её названии, является передача во время интервала одной строки только одного цветоразностного сигнала из двух, передаваемых поочерёдно. В приёмнике сигнал, передаваемый в течение одной строки, воспроизводится в течение двух строк за счёт использования строчной памяти. В момент передачи сигнала R-Y из строчной памяти в декодер поступает сигнал предыдущей строки B-Y и наоборот. Поскольку система SECAM используется только с европейским стандартом разложения 625/50, длительность запоминания, равная периоду одной строки, составляет 64 микросекунды.
В аналоговых телевизионных приемниках для реализации памяти первоначально использовались ультразвуковые линии задержки, а в настоящее время применяются более устойчивые цифровые устройства запоминания. Во время строчного гасящего импульса производится двойная коммутация, чтобы направить приходящий сигнал на один вход декодирующего устройства, а сигнал из строчной памяти на другой. В результате на оба входа блока цветности одновременно поступают два цветоразностных сигнала: один из текущей строки, а другой — из предыдущей. Полученные сигналы, вычитаемые из яркостного, дают на выходе блока цветности три сигнала, соответствующие основным цветам, которые подаются на электронные пушки кинескопа.
Поочерёдная передача цветоразностных сигналов требует согласованной работы коммутаторов передающего и принимающего устройств, которые должны переключаться синхронно и синфазно. Для этого используется сигнал цветовой синхронизации, или, как его часто называют, сигнал цветового опознавания. Он состоит из серии 9 импульсов трапецеидальной формы, добавляемых в цветоразностные сигналы во время кадровых гасящих импульсов с 7-й по 15-ю строки нечётного и с 320-й по 328-ю чётного полукадров. Начало и конец каждого импульса совпадают с началом и концом активной части строки. Опознавание происходит за счёт разницы в частотах соседних импульсов, принимающих крайние значения 4,756 МГц для «красных» и 3,9 МГц для «синих» строк. В современных телевизорах вместо сигналов опознавания для цветовой синхронизации используются защитные вставки немодулированной поднесущей, следующие на задней площадке строчных гасящих импульсов. Частота этих пакетов, также используемых для настройки амплитудного ограничителя сигнала цветности, соответствует частоте несущей передаваемого в соответствующей строке цветоразностного сигнала.
Форматы PAL, NTSC: в чем разница с технической стороны?
Телевизоры показывают свои изображения по строкам и создают иллюзию движения, отображая их слегка измененными, много раз в секунду. Широковещательный сигнал для черно-белого телевидения просто указывал уровень яркости в каждой точке вдоль линии, поэтому каждый кадр был просто сигналом с информацией о яркости для каждой строки.
Первоначально телевизоры отображали 30 кадров в секунду (FPS). Однако когда был добавлен цвет к широкоформатному вещанию, черно-белые ТВ не могли отличать информацию о цвете от информации о яркости, поэтому они пытались отобразить цветовой сигнал как часть изображения. В результате оно становилось бессмысленным, и появилась потребность ввести новый ТВ-стандарт.

Чтобы отобразить цвет без возникновения этой проблемы, для трансляции необходимо было добавить второй сигнал цветности между колебаниями сигнала яркости, который стал бы игнорироваться черно-белыми телевизорами, а цветные устройства стали бы искать его и отображать с помощью адаптера, называемого Colorplexer.
Поскольку этот дополнительный сигнал был добавлен между каждым обновлением кадра, он увеличил количество времени на их смену, и фактический FPS на дисплее был уменьшен. Поэтому NTSC TV воспроизводит 29,97 кадров в секунду вместо 30.
В свою очередь, сигнал PAL использует 625 линий, из которых 576 (известные как 576i-сигнал) отображаются в виде видимых линий на телевизоре, тогда как в форматированном сигнале NTSC используется 525 строк, из которых 480 кажутся видимыми (480i). В видео PAL каждая вторая строка имеет фазу изменения цветового сигнала, что приводит к тому, что они выравнивают частоту между линиями.
Достоинства и недостатки
Основным преимуществом системы SECAM является отсутствие перекрёстных искажений между цветоразностными сигналами, достигаемое за счёт их последовательной передачи. Однако на практике это преимущество не всегда может быть реализовано из-за несовершенства коммутаторов сигнала цветности в декодирующем устройстве. Последнее, правда, относится к совсем старым телевизорам типа «Рубин-401» или УЛПЦТ с диодным коммутатором каналов прямого и задержанного сигнала. В более поздних моделях стали применяться многотранзисторные коммутаторы, и дефект полностью исчез. Система SECAM практически нечувствительна к дифференциально-фазовым искажениям, особенно критичным для системы NTSC. За счёт применения частотной модуляции высока устойчивость к изменениям амплитуды поднесущей, возникающим вследствие неравномерности АФЧХ тракта передачи. Система NTSC, использующая квадратурную модуляцию, более чувствительна к таким искажениям, проявляющимся как изменение цветовой насыщенности. По этим же причинам SECAM менее чувствителен к колебаниям скорости магнитной ленты видеомагнитофона.
К недостаткам системы стоит отнести в первую очередь низкую помехозащищённость, проявляющуюся при соотношении сигнал/шум принимаемого сигнала менее 18 дБ. В этом случае качество цветного изображения резко падает, и становятся видимы низкочастотные цветные помехи. Хотя сами сигналы цветности PAL/NTSC и менее подвержены помехам, в реальных телевизорах при столь низком отношении сигнал/шум нарушается цветовая синхронизация, и прием цветного изображения также становится невозможным. Другим недостатком является более низкая, чем у NTSC и PAL, совместимость с чёрно-белыми телевизорами. В таких приёмниках, не оснащённых фильтром поднесущей, помехи от неё сильно заметны, особенно на вертикальных границах между цветами. Однако в большинстве серийных ламповых черно-белых телевизоров II—III классов реальная полоса пропускаемых видеоусилителем частот не превышала 3,5 — 4 МГц, поэтому сигналы цветности не попадали на управляющий электрод кинескопа. Лишь в поздних советских черно-белых телевизорах УСТ, выполненных на унифицированных модулях цветных телевизоров, видеоусилители стали пропускать полную полосу частот видеосигнала, поэтому их пришлось оснастить режекторными фильтрами цветовых поднесущих.
Из-за использования частотной модуляции поднесущей в системе SECAM сильнее, чем в других, проявляются перекрёстные искажения между сигналами яркости и цветности, особенно заметные в виде цветных «факелов» в детализированных сюжетах с малой цветовой насыщенностью. Подавление возможных перекрёстных помех достигается за счёт снижения качества сигнала яркости, в котором подавляется значительная часть высокочастотного спектра, ответственная за горизонтальную чёткость. Благодаря последовательной передаче цвета цветное изображение стандарта SECAM имеет в два раза меньшую чёткость по вертикали, чем монохромное. Это считается допустимым в силу большей чувствительности глаза к яркостной составляющей: на среднестатистических сюжетах такое ухудшение почти незаметно. Гораздо более заметны искажения, проявляющиеся на резких вертикальных цветовых переходах и усугубляемые чересстрочной развёрткой. Такие искажения проявляются как заметное глазу дрожание горизонтальных границ с частотой 12,5 Гц. Неточность линии задержки может приводить к искажениям, проявляющимся в «зубчатости» вертикальных цветовых границ, непрерывно скользящей из-за чересстрочной развёртки.
Согласно всесторонним исследованиям, проведённым в 1965—1966 гг. в ОСЦТ-2 (Опытная станция цветного телевидения) для сравнения различных систем цветного телевидения, при выборе лучшей для широкого внедрения в СССР, на тот момент ни одна из конкурирующих систем не показала решающих технических или экономических преимуществ перед другой. Преимуществом системы SECAM была меньшая чувствительность к искажениям при передаче по междугородным линиям и при видеозаписи; недостатком — усложнение устройства видеомикшеров.
2.2 Электрический расчет эмиттерного повторителя
Исходные данные:
—UИП=12 В – напряжение источника питания;
—UВХ£2,5 В – уровень сигнала на входе эмиттерного повторителя (ЭП);
—UН=2 В – напряжение на нагрузке ЭП;
—fC=6 МГц – частота входного сигнала.
![]() |
Рисунок — Схема эмиттерного повторителя
Выбираем транзистор, параметры которого должны выполнять условия:
UК Э МАХ³UИП;
fВ>>fC.
В качестве транзистора выбрали по :
транзистор типа КТ315Б ЖК3.365.200 ТУ.
Эксплуатационные параметры:
—UК-Э МАХ=20 В – максимальное допустимое напряжение между коллектором и эмиттером;
—UБ-Э МАХ=6 В – максимальное допустимое напряжение между базой и эмиттером;
—IК МАХ=0,1 А – максимальный постоянный ток коллектора;
—IК МАХ U=0,3 А – максимальный ток коллектора в импульсе;
—IК-Б0=10*10-6 А – обратный ток коллектора;
—h21Э=50 – статический коэффициент передачи тока;
—fГР=250 МГц – граничная частота.
Рассчитаем сопротивление резистора R3:
R3=UЭ/IЭ;
UЭ=0,5*UИП;
UЭ=0,5*12=6 В;
IК=IЭ=100 мА;
R3=6/0,1£60 Ом.
Примем стандартный номинал сопротивления резистора:
R3=100 Ом.
Определим мощность рассеяния резистора R3:
РR3=UЭ2/R3;
РR3=22/100=0,04 Вт.
Принимаем тип резистора R3 по :
резистор С1-4 0,125-100 Ом ±10% ГОСТ 25350-82.
Рассчитываем сопротивления R1 и R2:
UБ=UЭ+0,6;
UБ=6+0,6=6,6 В;
UR2=UИП-UБ;
UR2=12-6,6=5,4 В;
R1/R2=UБ/UR2;
R1/R2=6,6/5,4=1,2;
R1=1.2*R2;
(R1*R2)/(R1+R2)=0.1*h21*R3;
(1,2*R2*R2)/(1.2*R2+R2)=0.1*50*100;
(1,2*R2)/2,2=500;
R2=916,66 Ом;
R1=1,2*916,66=1099 Ом.
Примем стандартный номинал резистора R1:
R1=1,5 кОм.
Определим мощность рассеяния резистора R1:
РR1=U2Б/R1;
РR1=6,62/1500=29,04*10-3 Вт.
Принимаем тип резистора R1 по :
резистор С1-4 0,125-1,5 кОм ±10% ГОСТ 25350-82.
Примем стандартный номинал резистора R2:
R2=1 кОм.
Определим мощность рассеяния резистора R2:
РR2=U2R2/R2;
РR2=5,42/1000=0,009 Вт.
Принимаем тип резистора R2 по :
резистор С1-4 0,125-1 кОм ±10% ГОСТ 25350-82.
Рассчитаем емкость разделительного конденсатора С1:
С1>>1/(2*п* fВ МАХ*RН);
С1>>1/(2*3,14*6*106*1000)=26,5*10-12 Ф.
Принимаем стандартный номинал емкости конденсатора:
С1=10 мкФ.
Напряжение на обкладках конденсатора С1 равно напряжению источника питания:
UС1=UИП=12 В.
Принимаем тип конденсатора С1 по :
конденсатор К50-16 10 мкФ ±10 ОЖ0.464.111 ТУ.
ЗАКЛЮЧЕНИЕ
В ходе работы над дипломным проектом был выполнен ремонт модуля цветности от телевизора 3УСЦТ, исследованы его характеристики, которые дают возможность проследить прохождение сигнала и его преобразование с выхода модулятора радиоканала до катодов кинескопа.
В модуле цветности из входящего цветового сигнала необходимо сформировать цветоразностные сигналы основных цветов. Полный сигнал, содержащий информацию о яркости, и сигналы цветности, передаваемые с помощью поднесущей. С входа модуля цветности сигналы поступает на режекторные фильтры, где после подавления цветовых поднесущих ПЦТС преобразуется в сигнал яркости ЕY , которые можно посмотреть на модуле цветности лабораторного макета в точке 1. Хотя ПЦТС поступает не только в модуль цветности МЦ-3, но и одновременно на субмодуль цветности на СМЦ-2. В субмодулепроисходит выделение сигнала цветности и ПЦТС, и его усиление, а также на коммутатор разделение сигнала цветности на сигналы «красного» и сигналы «синего», и далее детектируется в цветоразностные сигналы ЕR-Y и EB—Y, потом поступает в МЦ-3. С выхода СМЦ-2 сигналы поступает на матрицу формирующую третий цветоразностный сигнал EG—Y, и далее все три цветразностные сигнала усиливаются до нужной амплитуды.
Последовательность преобразования сигнала можно посмотреть на сконструированном лабораторном макете, который работает совместно с оборудованием, как-то: генератором испытательных сигналов (ЛАСПИ 001), осциллографом и вольтметром. Работа с макетом позволяет повысить уровень подготовки студентов по дисциплине «Основы телевидения».
Технические принципы
Три исторические системы цветного телевидения ( NTSC , SECAM и PAL ) были разработаны с учетом совместимости с более ранними стандартами черно-белого вещания . Таким образом, старый черно-белый телевизор должен иметь возможность воспроизводить программы, передаваемые в цвете, а цветной телевизор должен иметь возможность воспроизводить программы, распространяемые в черно-белом режиме. Поэтому дополнительная информация о цвете добавляется или комбинируется с черно-белыми сигналами.
Черно-белый сигнал или сигнал яркости (Y) составляет первую видеоинформацию, которая будет использоваться (первый компонент вектора). Таким образом , для передачи остаются две части информации (два компонента), называемые цветностью . Было выбрано передавать U = постоянный × (R — Y) и V = постоянный × (B — Y), потому что информация зеленого цвета G является наиболее близкой к яркости Y. SECAM отличается от других стандартов по эта точка.
NTSC и PAL
В NTSC и PAL два сигнала цветности (U = постоянный × (R — Y) и V = постоянный × (B — Y)) передаются одновременно с фазовой и амплитудной модуляцией . Таким образом, для каждой линии и, следовательно, для каждой точки доступна информация Y, U и V, что позволяет восстановить три основных компонента R, G и B.
СЕКАМ
Для SECAM информация U и V передается попеременно через каждую вторую строку. Так :
- для данной строки у нас есть информация Y (черно-белый сигнал, передаваемый для каждой строки) и U = константа × (R — Y);
- для следующей строки у нас есть информация Y и V = constant × (B — Y);
- И так далее.
В этой формуле система не позволит восстановить три компонента R, G и B. Весь фокус состоит в том, чтобы взять для данной строки недостающую информацию U или V из предыдущей строки . С этой целью линия задержки 64 мкс (длительность строки) хранит информацию о цвете строки (U или V) и восстанавливает ее при получении следующей строки, где объединяется с информацией о цвете последней (соответственно .V или U), он, наконец, обеспечивает доступ к трем компонентам цветового вектора.
Таким образом, в SECAM разрешение цветности вдвое меньше разрешения яркости (разрешение черно-белого изображения). На практике это не создает особых проблем, потому что человеческий глаз имеет более или менее одинаковые характеристики (лучшее разрешение по яркости, чем по цветности). Следует отметить, что такая практика разделения цветности на два была принята в стандарте JPEG и, следовательно, унаследована в стандартах MPEG-1 , MPEG-2 и MPEG-4 .
Данные о цвете передаются с частотной модуляцией , что гарантирует (только во время передачи) лучшую стабильность цвета и снижает восприятие информации о цвете в черно-белом видеоизображении. В приведенном выше объяснении для простоты было рассмотрено, что SECAM, как и PAL и NTSC, использует цветовое пространство YUV . Это не совсем правильно, потому что в SECAM компоненты U и V масштабируются; Таким образом, три компонента выражаются в цветовом пространстве YDbDr .
SECAM теоретически лучше PAL для эфирного вещания только из-за консолидации цветности. Это преимущество для светотени, которая лучше воспроизводится в SECAM, цвета кажутся невооруженным глазом более насыщенными, чем в PAL. С другой стороны, эта насыщенность может стекать слюной на большие красные или синие поверхности, которые очень насыщены.
Преимущества / недостатки трех систем
| Тип | Характеристики |
|---|---|
| NTSC |
|
| PAL |
|
| СЕКАМ |
|
Недостатки первых цветных телевизоров
У ранних систем цветного ТВ было несколько важных недостатков. Один из них — большая сложность и громоздкость конструкции. Приходилось применять по три кинескопа или барабаны с зеркалами и светофильтрами. Доктор Джордж Браун, описывая в автобиографии один такой «тринископ» на 108 лампах, вспоминал, что телевизор был более двух метров в высоту и глубину и 80 см в ширину, при этом экран был диагональю всего 40 см.
Доктор Ален ДюМон демонстрирует макет установки, которая показывает размеры конструкции, необходимой для построения цветного изображения системы CBS, и телевизор DuMont с таким же по размеру экраном (30 дюймов, или 76 см). Фото с сайта Luxfon.com
Вторая проблема — большое число не совместимых между собой стандартов и систем. В погоне за цветным изображением участвовали как отдельные конструкторы, так и крупные корпорации.
В США экспериментировали RCA, CBS, DuMont, Philco, General Electric, CTI и другие. Например, фирма CBS добилась разительного уменьшения габаритов своей системы путем помещения кинескопа внутрь барабана с девятью светофильтрами, который вращался со скоростью 960 оборотов в минуту.
Телевизор CBS с вращающимся барабаном, 1950 год. Внутри корпуса размерами 86×69 см помещался кинескоп с диаметром 43 см. Фото с сайта EarlyTelevision.org
Другая система CBS — с вращающимся диском вместо барабана. Точнее, с двумя такими дисками, посаженными на одну ось. Диск перед кинескопом разделен на четыре неравных по площади сектора: самый большой — бесцветный, и три поменьше — цветные.
При приеме черно-белой телепередачи диск не включался, и зрители смотрели передачу через его бесцветную часть. А для просмотра цветной передачи включался мотор, вращавший диски, и изображение окрашивалось.
Отмечая это изобретение, журнал Time поместил портрет директора CBS Фрэнка Стэнтона и изображение цветного диска на обложку декабрьского номера за 1950 год. Такой телевизор с экраном диаметром в 25 см поступил в продажу в 1951 году по цене в 500 долларов.
Телевизор CBS 12CC2. Фото с сайта TVHistory.tvКадры из цветной передачи CBS 1951 года. Изображения с сайта EarlyTelevision.org
Еще один серьезный недостаток сводился к тому, что часто системы цветного телевидения оказывались несовместимыми с системами телевидения черно-белого. В результате по старым черно-белым телевизорам нельзя было смотреть цветную трансляцию даже в двух цветах.
По каким-то причинам в 1950 году Федеральная комиссия по связи, выбирая перспективную систему для внедрения на территории страны, остановилась на предложении CBS, чья система как раз не имела никакой совместимости с черно-белым стандартом 1941 года.
Ирония судьбы состоит в том, что из-за запрета на производство цветных телевизоров (вызванного экономией стратегического сырья во время Корейской войны) регулярные передачи в ставшем национальным стандарте CBS длились всего 4 месяца.
Глава 3. Система цветного телевидения SECAM
-
-
Принципы построения системыSECAM
-
- В каждой строке передаётся только один сигнал цветности;
- Преобразование ЦРС в сигналы цветности осуществляется методом частотной модуляции.
YR–YB–YR–YB–YYR–YG–YB–YR–YB–YG–YЗАД.СТР.R–YB–Y
R–YB–YR–YB–YG–YR–YB–YR–YB–Y а) б) (а)б) RGBYR–YB–YR–YB–YYR—YG–YB–Y1 42 3. B–Yчатели находятся в верхнем положенииB–Y3 6 R–Y1. 2-5 4-6R–Y2-5 B–Y4-6. G–YСТРсиг- налами цветовой синхронизации.
-
-
Предыскажения сигналов в системеSECAM
-
ДВДВчастотных предыскажений
низкочастот- ными предыскажениями.
оослабление спектральных состав- ляющих ЦРС
С С высо- кочастотные предыскажения

111222
-
-
Основные параметры системыSECAM
-
R–YB–YСССР и стандартизированнойRBRRR–YR–YBBB–YB–YRBкоэффициентамикомпрессии.RBR–YB–YR– BR–YB–YR–YB–Y
Таблица 3.1

R–YR–YB–YB–YR–YB–YR–YRBRRR—Y–– BBB–YRBRR–YR–YB–YR–YRBПоднесущие частоты.RB0RСТР.0BСТР.СТР.0R0BRBRBR0R
-
-
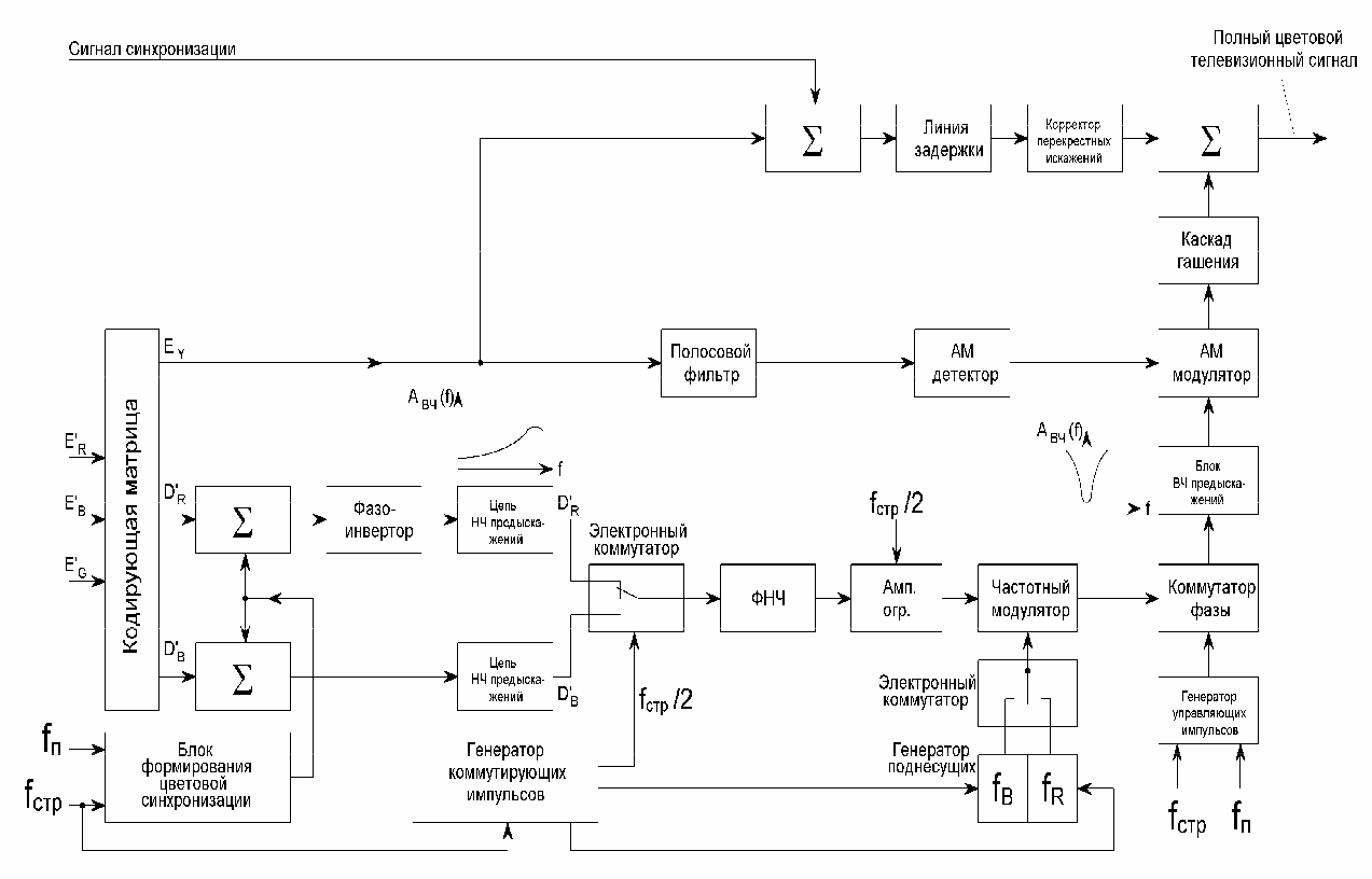
Кодирующее устройство системыSECAM
-
-
- сигналы яркости;
- сигналы цветности;
- сигналы цветовой синхронизации;
- сигналы синхронизации развёртывающих устройств приёмника;
- гасящие импульсы.
RGBYRBRBBRRВсоответствующие переходу от одного цвета к другомуRВRBRВRВRВ0R0B0RСТР0BСТРY
-
-
Декодирующее устройство системыSECAM
-
-
- выделяет из спектра полного сигнала полосу частот, в которой заклю- чены составляющие сигнала цветности;
- детектирует сигналы цветности;
- усиливает полученные в результате детектирования ЦРС ЕR–Y и ЕB–Y;
- формирует третий ЦРС ЕG–Y;
- корректирует высоко- и низкочастотные искажения сигнала, введённые в кодирующем устройстве.
этом устраняются импульсные помехиR–YB–YЕ.R–YB–YR–YВ–Y
R–YB–YG–YR–YB–Yсигналами цветовой синхронизации.
-
-
Система цветовойсинхронизации
-
которые могут попасть в канал цветности
Функциональная схема системы ЦС пополям 
ВХ12345И; 6УПРИ И 4И5«S» И И «1». «0». «S» «С». «С» «S» «1» «С» 6И«1»«1», «0», строки сигнала цветностиФункциональная схема системы ЦС по строкам
12УПР0R0B
-
-
Восстановление постоянной составляющей яркостногосигнала
-
Yпостоянную составляющую EY (рис.3.19а).
денсаторами СРEY емкостями к выходу канала. В результате выходной сигнал Е’YYEY седает» на величину напряжения EY ), что показано на рис.3.19б. Поэтому нащую EY . Эта операция носит название «фиксации уровня «чёрного».
УУРЗYУРРРРP>> образуется постоянное напряжении, равное EY , которое складывается с на-YР.ЕВЫХ =EY + Е’Y =EY + (ЕY –EY ) = ЕY,Контрольные вопросы:
- Поясните принципы работы системы SECAM?
- Почему выбираются разные поднесущие для передачи сигналов цветно- сти?
- Чем отличается сигнал цветности от ЦРС?
- Каким образом в декодирующем устройстве системы SECAM восста- навливается составляющая ЦРС ЕG–Y?
- Почему в кодирующем устройстве системы SECAM исключается со- ставляющая ЦРС ЕG–Y?
- Для чего в сигналы цветности вводятся низкочастотные и высокочас- тотные предыскажения?
- Как устраняются в ТВ-приёмнике предыскажения ЧМ-сигналов?
- Для чего ЦРС подвергаются компрессии?
- Объясните назначение ультразвуковой линии задержки в декодирую- щем устройстве системы SECAM?
- Поясните назначение системы цветовой синхронизации.
- Как воспроизводится на экране ТВ-приёмника испытательный сигнал
- Зачем в ТВ-приёмнике необходимо восстанавливать постоянную со- ставляющую сигнала?
3















![4. общие характеристики телевизионных систем. cctv. библия видеонаблюдения [цифровые и сетевые технологии]](http://thelawofattraction.ru/wp-content/uploads/c/0/8/c08f60b5cdb857e7f2969f56e3301887.jpeg)















